| Components Location |

| 1. HECU module 2. Front wheel speed sensor (2WD) |
3. Front wheel speed sensor (AWD)
4. Rear wheel speed sensor |
| Description of ESP |
Electronic Stability Program (ESP) recognizes critical driving conditions, such as panic reactions in dangerous situations, and stabilizes the vehicle by wheel-individual braking and engine control intervention.
ESP adds a further function known as Active Yaw Control (AYC) to the ABS, TCS, EBD and ESP functions. Whereas the ABS/TCS function controls wheel slip during braking and acceleration and, thus, mainly intervenes in the longitudinal dynamics of the vehicle, active yaw control stabilizes the vehicle about its vertical axis.
This is achieved by wheel individual brake intervention and adaptation of the momentary engine torque with no need for any action to be taken by the driver.
ESP essentially consists of three assemblies : the sensors, the electronic control unit and the actuators.
The stability control feature works under all driving and operating conditions. Under certain driving conditions, the ABS/TCS function can be activated simultaneously with the ESP function in response to a command by the driver.
In the event of a failure of the stability control function, the basic safety function, ABS, is still maintained.

Description of ESP Control
ESP system includes ABS/EBD, TCS and AYC function.
ABS/EBD function : The ECU changes the active sensor signal (current shift) coming from the four wheel sensors to the square wave. By using the input of above signals, the ECU calculates the vehicle speed and the acceleration & deceleration of the four wheels. And, the ECU judges whether the ABS/EBD should be actuated or not.
TCS function prevents the wheel slip of drive direction by adding the brake pressure and engine torque reduction via CAN communication. TCS function uses the wheel speed sensor signal to determine the wheel slip as far as ABS function.
AYC function prevents unstable maneuver of the vehicle. To determine the vehicle maneuver, AYC function uses the maneuver sensor signals(Yaw Rate Sensor, Lateral Acceleration Sensor, Steering Wheel Angle Sensor).
If vehicle maneuver is unstable (Over Steer or Under Steer), AYC function applies the brake pressure on certain wheel, and send engine torque reduction signal by CAN.
After the key-on, the ECU continually diagnoses the system failure. (self-diagnosis)If the system failure is detected, the ECU informs driver of the system failure through the BRAKE/ABS/ESP warning lamp. (fail-safe warning)

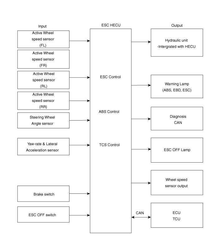
Input and Output Diagram

| ESP Operation Mode |
| ESP Hydraulic System Diagram |

| 1. |
ESP Non-operation : Normal braking.
|
| 2. |
ESP operation
|
||||||||||||||||||||||
ABS Warning Lamp module
The active ABS warning lamp module indicates the self-test and failure status of the ABS. The ABS warning lamp shall be on:
| – |
During the initialization phase after IGN ON. (continuously 3 seconds). |
| – |
In the event of inhibition of ABS functions by failure. |
| – |
During diagnostic mode. |
| – |
When the ECU Connector is seperated from ECU. |
| – |
Cluster lamp is ON when communication is impossible with CAN module. |
EBD/Parking Brake Warning Lamp Module
The active EBD warning lamp module indicates the self-test and failure status of the EBD. However, in case the Parking Brake Switch is turned on, the EBD warning lamp is always turned on regardless of EBD functions. The EBD warning lamp shallbe on:
| – |
During the initialization phase after IGN ON. (continuously 3 seconds). |
| – |
When the Parking Brake Switch is ON or brake fluid level is low. |
| – |
When the EBD function is out of order . |
| – |
During diagnostic mode. |
| – |
When the ECU Connector is seperated from ECU. |
| – |
Cluster lamp is ON when communication is impossible with CAN module. |
ESP Function/Warning Lamp (ESP system)
The ESP function/warning lamp indicates the self-test and failure status of the ESP.
The ESP function/warning lamp is turned on under the following conditions :
| – |
During the initialization phase after IGN ON. (continuously 3 seconds). |
| – |
When the ESP function is inhibited by system failure. |
| – |
When the ESP control is operating. (Blinking - 2Hz) |
| – |
During diagnostic mode.(Except standard mode) |
| – |
Cluster lamp is ON when communication is impossible with CAN module. |
ESP Off Lamp (ESP system)
The ESP Off lamp indicates the self-test and operating status of the ESP.
The ESP Off lamp operates under the following conditions :
| – |
During the initialization mode after IGN ON. (continuously 3 seconds). |
| – |
ESP Off lamp is On when driver input the ESP Off switch. |
ESP On/Off Switch (ESP system)
The ESP On/Off Switch shall be used to toggle the ESP function between On/Off states based upon driver input.
The On/Off switch shall be a normally open, momentary contact switch.Closed contacts switch the circuit to ignition.
Initial status of the ESP function is on and switch toggle the state.
| Schematic Diagrams |
| Applied for EPB |

| Not applied for EPB |

| Terminal Function |
| Applied for EPB |

|
Pin No |
Description |
|
1 |
Pump motor power |
|
2 |
Motor ground (RR) |
|
3 |
Motor power (RR) |
|
5 |
EPB Switch signal 2 supply |
|
6 |
EPB Switch signal 1 supply |
|
8 |
EPB Switch signal 3 release |
|
9 |
EPB Switch signal 4 release |
|
10 |
Hall signal input 1 |
|
11 |
Hall signal input 2 |
|
12 |
Motor ground (RL) |
|
13 |
Motor power (RL) |
|
14 |
Pump motor ground |
|
15 |
P-CAN High |
|
16 |
P-CAN Low |
|
17 |
IGN1 |
|
18 |
ESP ON/OFF |
|
20 |
AVH ON/OFF switch signal |
|
21 |
Hall sensor power (5V) |
|
22 |
Hall signal input 1 |
|
23 |
Hall sensor ground |
|
24 |
Hall signal input 2 |
|
25 |
Brake lamp switch signal |
|
26 |
Wheel speed sensor power (RL) |
|
27 |
Wheel speed sensor ground (RL) |
|
28 |
Wheel speed sensor power (FL) |
|
29 |
Wheel speed sensor ground (FL) |
|
30 |
B+ |
|
33 |
C-CAN High |
|
34 |
C-CAN Low |
|
37 |
Vaccum switch signal input |
|
38 |
Wheel speed sensor output (RR) |
|
39 |
Vaccum pump signal output진공 펌프 신호 출력 |
|
42 |
Wheel speed sensor power (RR) |
|
43 |
Wheel speed sensor ground (RR) |
|
44 |
Wheel speed sensor power (FR) |
|
45 |
Wheel speed sensor ground (FR) |
|
46 |
Ground |
| Not applied for EPB |

|
Pin No |
Description |
|
1 |
Pump motor supply power |
|
2 |
P-CAN Low |
|
13 |
Pump motor ground |
|
14 |
P-CAN High |
|
16 |
Brake lamp switch signal |
|
17 |
Wheel speed sensor output (FR) |
|
18 |
Wheel speed sensor power (FR) |
|
19 |
Wheel speed sensor power (RR) |
|
20 |
Wheel speed sensor signal ground (RL) |
|
21 |
Wheel speed sensor signal ground (FL) |
|
22 |
C-CAN High |
|
23 |
ESP ON/OFF switch signal |
|
25 |
B + |
|
29 |
IGN1 |
|
31 |
Wheel speed sensor signal ground (FR) |
|
32 |
Wheel speed sensor signal ground (RR) |
|
33 |
Wheel speed sensor power (RL) |
|
34 |
Wheel speed sensor power (FL) |
|
35 |
C-CAN Low |
|
38 |
Ground |
| Failure Diagnosis |
| 1. |
In principle, ESP and TCS controls are prohibited in case of ABS failure. |
| 2. |
When ESP or TCS fails, only the failed system control is prohibited. |
| 3. |
However, when the solenoid valve relay should be turned off in case of ESP failure, refer to the ABS fail-safe. |
| 4. |
Information on ABS fail-safe is identical to the fail-safe in systems where ESP is not installed. |
Memory of Fail Code
| 1. |
It keeps the code as far as the backup lamp power is connected. (O) |
| 2. |
It keeps the code as far as the HCU power is on. (X) |
Failure Checkup
| 1. |
Initial checkup is performed immediately after the HECU power on. |
| 2. |
Valve relay checkup is performed immediately after the IG2 ON. |
| 3. |
It executes the checkup all the time while the IG2 power is on. |
Countermeasures in Fail
| 1. |
Turn the system down and perform the following actions and wait for HECU power OFF. |
| 2. |
Turn the valve relay off. |
| 3. |
Stop the control during the operation and do not execute any until the normal condition recovers. |
Warning Lamp ON
| 1. |
ESP warning lamp turn on for 3sec after IGN ON. |
| 2. |
ESP function lamp blinks when ESP Act. |
| 3. |
If ESP fail occured, ESP warning turns ON. |
| 4. |
ESP OFF lamp turn on in case of
|
Standard Flow of Diagnostic Troubleshooting

Notes With Regard To Diagnosis
The phenomena listed in the following table are not abnormal.
|
Condition |
Explanation |
||||||
|
System check sound |
When starting the engine, a thudding sound can sometimes be heard coming
from inside the engine compartment. This is because the system operation check is being performed. |
||||||
|
ABS operation sound |
|
||||||
|
ABS operation (Long braking distance) |
For road surfaces such as snow-covered and gravel roads, the braking distance
for vehicles with ABS can sometimes be longer than that for other vehicles.
Accordingly, advise the customer to drive safely on such roads by lowering
the vehicle speed. |
||||||
|
Diagnosis detection conditions can vary depending on the diagnosis code.
When checking the trouble symptom after the diagnosis code has been erased, ensure that the requirements listed in "Comment" are met. |
|||||||
ABS Check Sheet

Problem Symptoms Table
|
Symptom |
Suspect Area |
||||||||
|
ABS does not operate. |
Only when 1 - 4 are all normal and the problem is still occurring, replace
the HECU.
|
||||||||
|
ABS does not operate intermittently. |
Only when 1 - 4 are all normal and the problem is still occurring, replace
the ABS actuator assembly.
|
||||||||
|
Communication with KDS is not possible. (Communication with any system is not possible) |
|
||||||||
|
Communication with KDS is not possible. (Communication with ABS only is not possible) |
|
||||||||
|
When ignition key is turned ON (engine OFF), the ABS warning lamp does not light up. |
|
||||||||
|
Even after the engine is started, the ABS warning lamp remains ON. |
|
|

Detecting condition
|
Trouble Symptoms |
Possible Cause |
||||||||
|
Brake operation varies depending on driving conditions and road surface
conditions, so diagnosis can be difficult. However if a normal DTC is displayed,
check the following probable cause. When the problem is still occurring,
replace the ESP control module. |
|
Inspection procedures
DTC Inspection
| 1. |
Connect the KDS with the data link connector and turn the ignition switch ON. |
| 2. |
Verify that the DTC code is output. |
| 3. |
Is the DTC code output?
|
Check the power source circuit
| 1. |
Disconnect the connector from the ESP control module. |
| 2. |
Turn the ignition switch ON, measure the voltage between terminal 29 of the ESP control module harness side connector and body ground.
|
| 3. |
Is the voltage within specification?
|
Check the ground circuit
| 1. |
Disconnect the connector from the ESP control module. |
| 2. |
Check for continuity between terminals 13, 38 of the ESP control module harness side connector and ground point.
|
| 3. |
Is there continuity?
|
Check the wheel speed sensor circuit
| 1. |
Refer to the DTC troubleshooting procedures. |
| 2. |
Is it normal?
|
Check the hydraulic circuit for leakage
| 1. |
Refer to the hydraulic lines. |
| 2. |
Inspect leakage of the hydraulic lines. |
| 3. |
Is it normal?
|

Detecting condition
|
Trouble Symptoms |
Possible Cause |
||||||||
|
Brake operation varies depending on driving conditions and road surface
conditions, so diagnosis can be difficult. However if a normal DTC is displayed,
check the following probable cause. When the problem is still occurring,
replace the ESP control module. |
|
Inspection procedures
DTC Inspection
| 1. |
Connect the KDS with the data link connector and turn the ignition switch ON. |
| 2. |
Verify that the DTC code is output. |
| 3. |
Is the DTC code output?
|
Check the wheel speed sensor circuit
| 1. |
Refer to the DTC troubleshooting procedures. |
| 2. |
Is it normal?
|
Check the stop lamp switch circuit
| 1. |
Check that stop lamp lights up when brake pedal is depressed and turns off when brake pedal is released. |
| 2. |
Measure the voltage between terminal 23 of the ESP control module harness side connector and body ground when brake pedal is depressed.
|
| 3. |
Is the voltage within specification?
|
Check the hydraulic circuit for leakage
| 1. |
Refer to the hydraulic lines. |
| 2. |
Inspection leakage of the hydraulic lines. |
| 3. |
Is it normal?
|

Detecting condition
|
Trouble Symptoms |
Possible Cause |
||||||
|
Possible defect in the power supply system (including ground) for the diagnosis
line. |
|
Inspection procedures
Check The Power Supply Circuit For The Diagnosis
| 1. |
Measure the voltage between terminal 16 of the data link connector and body ground.
|
| 2. |
Is voltage within specification?
|
Check the ground circuit for the diagnosis
| 1. |
Check for continuity between terminal 4 of the data link connector and body ground.
|
| 2. |
Is there continuity?
|

Detecting condition
|
Trouble Symptoms |
Possible Cause |
||||||
|
When communication with KDS is not possible, the cause may be probably an
open in the HECU power circuit or an open in the diagnosis output circuit.
|
|
Inspection procedures
Check for Continuity in the CAN Line
| 1. |
Disconnect the connector from the ESP control module. |
| 2. |
Check for continuity between terminals 26, 14 of the ESP control module connector and 3, 11 of the data link connector. |
| 3. |
Is there continuity?
|
Check the power source of ESP control module
| 1. |
Disconnect the connector from the ESP control module. |
| 2. |
Turn the ignition switch ON, measure the voltage between terminal 29 of the ESP control module harness side connector and body ground.
|
| 3. |
Is voltage within specification?
|
Check for poor ground
| 1. |
Check for continuity between terminal 4 of the data link connector and ground point.
|

Detecting condition
|
Trouble Symptoms |
Possible Cause |
||||||||
|
When current flows in the HECU the ABS warning lamp turns from ON to OFF as the initial check. Therefore if the lamp does not light up, the cause may be an open in the lamp power supply circuit, a blown bulb, an open in the both circuits between the ABS warning lamp and the HECU, and the faulty HECU. |
|
Inspection procedures
Problem verification
| 1. |
Disconnect the connector from the ESP control module and turn the ignition switch ON. |
| 2. |
Does the ABS warning lamp light up?
|
Check the power source for the ABS warning lamp
| 1. |
Disconnect the instrument cluster connector (M08) and turn the ignition switch ON. |
| 2. |
Measure the voltage between terminal (M08) 39 of the cluster harness side connector and body ground.
|
| 3. |
Is voltage within specification?
|
Check the CAN circuit resistance for ABS warning lamp
| 1. |
Disconnect the instrument cluster connector (M08) and turn the ignition switch OFF. |
| 2. |
Measure the resistance between terminal (M08) 32 and 33 of the cluster harness side connector.
|
| 3. |
Is resistance within specification?
|
Check the CAN circuit wiring for ABS warning lamp
| 1. |
Disconnect the instrument cluster connector (M08) and ESP HECU connector, and then turn the ignition switch OFF. |
| 2. |
Check for continuity between terminal (M08) 32 of the cluster harness side connector and terminal 26 of ESP HECU harness side. Check for continuity between terminal (M08) 33 of the cluster harness side connector and terminal 14 of ESP HECU harness side.
|
| 3. |
Is resistance within specification?
|

Detecting condition
|
Trouble Symptoms |
Possible Cause |
||||||||
|
If the HECU detects trouble, it lights the ABS warning lamp while at the
same time prohibiting ABS control. At this time, the HECU records a DTC in memory. Even though the normal code is output, the ABS warning lamp remains ON, then the cause may be probably an open or short in the ABS warning lamp circuit. |
|
Inspection procedures
Check DTC Output
| 1. |
Connect the KDS to the 16P data link connector located behind the driver's side kick panel. |
| 2. |
Check the DTC output using KDS. |
| 3. |
Is DTC output?
|
Check the CAN circuit resistance for ABS warning lamp
| 1. |
Disconnect the instrument cluster connector (M08) and turn the ignition switch OFF. |
| 2. |
Measure the resistance between terminal (M08) 32 and 33 of the cluster harness side connector.
|
| 3. |
Is resistance within specification?
|
Check the CAN circuit wiring for ABS warning lamp
| 1. |
Disconnect the instrument cluster connector (M08) and ESP HECU connector, and then turn the ignition switch OFF. |
| 2. |
Check for continuity between terminal (M08) 32 of the cluster harness side connector and terminal 26 of ESP HECU harness side. Check for continuity between terminal (M08) 33 of the cluster harness side connector and terminal 14 of ESP HECU harness side.
|
| 3. |
Is resistance within specification?
|
Electric Parking Brake (EPB)
Emergency Signal System