Kia Stinger CK: Adaptive Front-Lighting System (AFS) / Adaptive Front-Lighting System (AFS) Unit
Components and components location

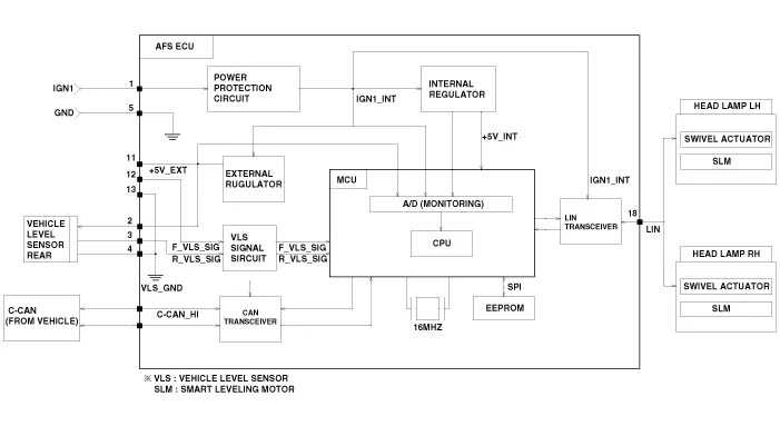
Schematic diagrams

Description and operation
AFS Unit (ECU)
AFS located in Cockpit Module is provided information of vehicle (steering wheel
signal, vehicle speed, inclination of vehicle).
Based on provided information, it calculates algorithm and adjust Low beam of
H/Lamp.
It transmits driving information by using LIN protocol, it is operated in Fail-safe
reaction mode In case system failure occurred.
Repair procedures
| • |
When prying with a flat-tip screwdriver or use a prying trim
tool, wrap it with protective tape, and apply protective tape around
the related parts, to prevent damage.
|
| • |
Use a plastic panel removal tool to remove interior trim pieces
to protect from marring the surface.
|
| • |
Take care not to bend or scratch the trim and panels.
|
|
| 1. |
Disconnect the negative (-) battery terminal.
|
| 2. |
Remove the crash pad passenger side panel.
(Refer to Body - "Crash Pad Center Panel")
|
| 3. |
Remove the side airvent duct [RH] (A) after loosening the mounting screw.

|
| 4. |
Disconnect AFS unit connector (A) after loosening the mounting bolt.

|
| 5. |
Remove the AFS unit (A).

|
| 2. |
Connect the AFS unit connector.
|
| 3. |
Install the side airvent duct [RH].
|
| 4. |
Install the crash pad passenger side panel.
|
| 5. |
Connect the negative (-) battery terminal.
|
Make sure that the connectors are plugged in properly.
|
|
Other information:
Kia Stinger (CK) 2018-2023 Service Manual: Winter driving
Severe weather conditions in the winter result in greater wear and other problems.
To minimize the problems of winter driving, you should follow these suggestions:
WARNING - Driving with summer tires
Summer tires are equipped to provide the best driving performance on dry roads,
varying according to specification.
Do not use summer tires at temperatures below 7°C (45°F) or when driving on
snow or ice.
Kia Stinger (CK) 2018-2023 Service Manual: Crash Pad
Components and components location
Components
1. Cowl cross member bar
2. Main wiring
3. Main crash pad
4. Side air vent duct [RH]
5. Crash pad under cover [RH]
6. Crash pad lower panel [RH]
7. Crash pad center lower cover
8. Glove box housing
9. Fuse A/S cover
10. Crash pad garnish [RH]
11.