| Components |

| 1. Brake switch |
2. Brake pedal |
| Terminal function |

|
Pin No |
Description |
|
1 |
IGN1 |
|
2 |
IBU |
|
3 |
- |
|
4 |
B+ |
|
5 |
Stop lmap |
|
6 |
Ground |
| Troubleshooting |
| 1. |
Part diagnosis
|
| 2. |
Symptom diagnosis
|
| 3. |
Stop lamp switch system diagnosis
SSEM : Stop Signal Electronic Module |
| 4. |
Refer to DTC guide when the related DTC codes are displayed. |
| Removal |
| 1. |
Turn ignition switch OFF and disconnect the negative (-) battery cable. |
| 2. |
Remove the crash pad lower panel. (Refer to Body - "Crash Pad Lower Panel") |
| 3. |
Remove the knee airbag. (Refer to Restraint - "Knee airbag") |
| 4. |
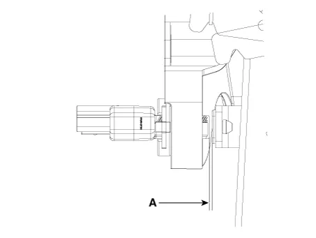
Disconnect the brake lamp switch connector (A).
|
| 5. |
Pull the locking plate (A) as indicated by the arrow and then turn brake switch (B) 45° clockwise and remove it.
|
| 6. |
Inspect a removed stop lamp switch along the below procedures.
|
| Installation |
| 1. |
Fix the brake pedal arm and insert fully the brake switch so that the contact part is invisible.
|
| 2. |
After inserting, turn the brake switch 45° counterclockwise, and then assemble locking plate by pushing.
|
| 3. |
Confirm the gap between stop lamp switch and bracket.
|
| 4. |
Install the stop lamp switch connector (A).
|
Kia Stinger (CK) 2018-2023 Service Manual: Restraint
General information General The supplemental restraint system (SRS) is designed to supplement the seat belt to help reduce the risk or severity of injury to the driver and passenger by activating and deploying the driver, passenger, side airbag and seat belt pretensioner in certain frontal or side collisions. The SRS (Airbag) consists of: a driver side airbag module with the folded cushion and an inflator unit located at the center of the steering wheel, a passenger side airbag module with the folded cushion assembled with inflator unit located in the passenger side crash pad, side airbag modules with the folded cushion and an inflator unit located in the front seat, and curtain airbag modules with folded cushions and inflator units located inside the headliner.Kia Stinger (CK) 2018-2023 Service Manual: Brake Booster Vacuum Pressure Sensor
Description and operation Description In order to ensure adequate brake power assistance in every situation, the brake booster is equipped with a partial vacuum sensor. The brake booster vacuum pressure sensor is located beside the brake booster. Schematic diagrams Circuit Diagram Repair procedures Inspection 1.