| Component Location |

| 1. Front seat cushion cover
|
| Replacement |
Put on gloves to protect your hands. |
|
| 1. |
Remove the front seat assembly. (Refer to Front Seat - "Front Seat Assembly") |
| 2. |
Remove the front seat forward extension cover (A).
|
| 3. |
Remove the front seat outer shield cover (A) by using a remover.
|
| 4. |
Disconnect the front seat power switch connector (A).
|
| 5. |
Remove the front seat shield inner cover (A) after loosening the mounting screw.
|
| 6. |
Remove the front seat back board lower protector (A).
|
| 7. |
Disconnect the front seat cushion connectors & wiring mounting clip (A).
|
| 8. |
Pull out the protectors (A), and then front seat cushion cover from the front seat cushion frame. [Rear]
[RH]
[LH]
|
| 9. |
Remove the front seat blower motor (A).
|
| 10. |
Remove the front seat cushion cover (A) from the front seat cushion frame.
|
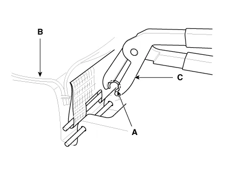
| 11. |
Remove the front seat cushion cover (C) from the front the seat cushion frame after removing the velcro tape (A) and hog-ring clips (B).
|
| 12. |
Install in the reverse order of removal.
|
Kia Stinger (CK) 2018-2023 Service Manual: Electric Power Steering
Description and operation Description EPS (Electric power steering, Column assist type) system is an engine operation independent steering system that uses an electric motor to assist the steering force. EPS control module controls the motor operation based on input signals from torque sensor and steering angle sensor via CAN (Controller Area Network), resulting in a more precise and timely control of steering assist thatn conventional engine-driven hydraulic systems.Kia Stinger (CK) 2018-2023 Service Manual: Body Electrical System
General information General Troubleshooting Information Before Troubleshooting 1. Check applicable fuses in the appropriate fuse/relay box. 2. Check the battery for damage, state of charge, cleanliness and tight connections. D 2.2 R VGT (Refer to Engine Electrical System - "Charging System") G 2.