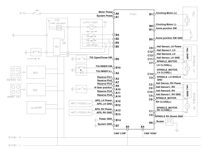
| Components |

|
No. |
Connector A |
Connector B |
Connector C |
|
1 |
Power supply |
Cinching motor (+) |
Spindle motor (RH)_Close (-) |
|
2 |
Illumination (Tailgate inner switch) |
Tailgate full open switch |
Hall sensor (RH)_Power |
|
3 |
- |
Tailgate full lock switch |
Spindle (LH) shild_Ground |
|
4 |
B-CAN (High) |
Tailgate half lock switch |
Hall sensor (RH)_Ground |
|
5 |
B-CAN (Low) |
Home position switch_Ground |
Spindle (RH) shild_Ground |
|
6 |
Buzzer |
Tailgate latch switch _Ground |
Hall sensor (LH)_Power |
|
7 |
- |
System ground |
Spindle motor (LH)_Close (+) |
|
8 |
Tailgate motor |
Cinching motor (-) |
Spindle motor (RH)_Close (+) |
|
9 |
- |
Tailgate open/close switch |
Hall sensor 1 (RH) |
|
10 |
Gear 'N' Position |
Tailgate inner switch |
Hall sensor 2 (RH) |
|
11 |
- |
Home position switch |
Hall sensor (LH)_Ground |
|
12 |
Antipinch strip (LH)_Power |
Antipinch strip (LH)_Ground |
Hall sensor 1 (LH) |
|
13 |
Antipinch strip (RH)_Power |
Antipinch strip (RH)_Ground |
Hall sensor 2 (LH) |
|
14 |
- |
Power ground |
Spindle motor (LH)_Close (-) |
| Circuit Diagram |

| Removal |
|
| 1. |
Disconnect the negative (-) battery terminal. |
| 2. |
Remove the luggage side trim [LH]. (Refer to Body - "Luggage Side Trim") |
| 3. |
Disconnect the power tailgate module connectors (A).
|
| 4. |
Remove the power tailgate module (A) after loosening the mounting nuts.
|
| Installation |
| 1. |
Install the power tailgate module. |
| 2. |
Connect the power tailgate module connectors. |
| 3. |
Install the luggage side trim [LH]. |
| 4. |
Connect the negative (-) battery terminal. |
| Inspection |
Inspection of the Power Tailgate Module
Refer to Power Tailgate System - "Troubleshooting"
Kia Stinger (CK) 2018-2023 Service Manual: Care of seat belts
Seat belt systems should never be disassembled or modified. In addition, care should be taken to assure that seat belts and belt hardware are not damaged by seat hinges, doors or other abuse. WARNING - Pinched seat belt Make sure that the webbing and/or buckle does not get caught or pinched in the rear seat when returning the rear seatback to its upright position.Kia Stinger (CK) 2018-2023 Service Manual: Front Door Belt Inside Weatherstrip
Repair procedures Replacement Put on gloves to protect your hands. • Use a plastic panel removal tool to remove interior trim pieces without marring the surface.