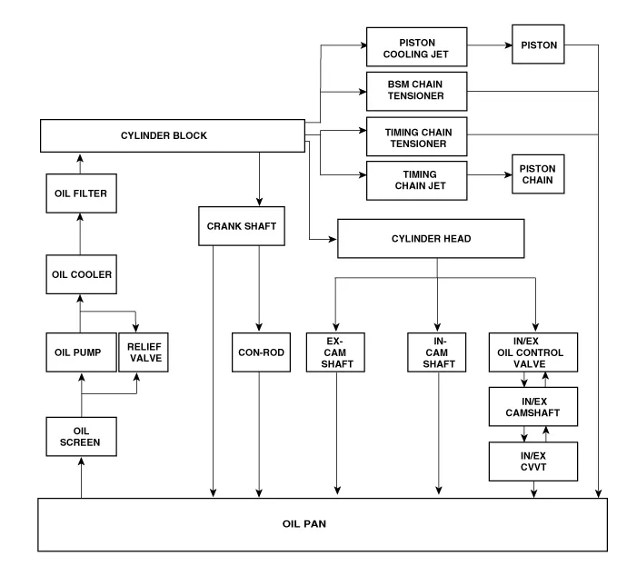
| Flow Diagram |


| Oil and filter replacement |
|
| 1. |
Remove the engine room front and rear under cover. (Refer to Engine and Transmission Assembly - "Engine Room Under Cover") |
| 2. |
Drain the engine oil.
|
| 3. |
Remove the oil filter (A) with the SST (09263-2E000, the oil filter wrench).
|
| 4. |
Install the oil drain plug with a new gasket.
|
| 5. |
Fill with new engine oil, after removing the engine oil level gauge.
|
| 6. |
Install the oil filler cap. |
| 7. |
Start engine and check for oil leaks and check the oil gauge or light for an indication of oil pressure. |
| 8. |
Recheck the engine oil level. |
| 9. |
To reset the service interval to the recommended mileage, refer to the service mode section in the owner's manual for procedure (if applicable). |
| Inspection |
| 1. |
Check the engine oil quality. Check the oil deterioration, entry of water, discoloring of thinning. If the quality is visibly poor, replace the oil. |
| 2. |
Check the engine oil level. After engine warm up stop the engine wait 5 minutes then check the oil level. Oil level should be between the "L" and "F" marks on the dipstick. If low check for leakage and add oil up to the "F" mark.
|
Selection Of Engine Oil
Recommendation : ACEA C2 or above / 0W-30
Allowed oil grade
- API SL or above
- ILSAC GF-3 or above
- ACEA A3 or above
Allowed oil SAE viscosity

For best performance and maximum protection of all types of operation, select only those lubricants which :
|
Kia Stinger (CK) 2018-2023 Service Manual: To keep locks from freezing
To keep the locks from freezing, squirt an approved de-icer fluid or glycerine into the key opening. If a lock is covered with ice, squirt it with an approved de-icing fluid to remove the ice. If the lock is frozen internally, you may be able to thaw it out by using a heated key. Handle the heated key with care to avoid injury. Use approved window washer anti-freeze in system To keep the water in the window washer system from freezing, add an approved window washer anti-freeze solution in accordance with instructions on the container.Kia Stinger (CK) 2018-2023 Service Manual: Field Effect Transistor (DATC)
Repair procedures Inspection 1. Turn the ignition switch ON. 2. Manually operate the control switch and measure the voltage of the blower motor. 3. Operate the control switch to raise the voltage up to high speed. Specification Fan Speed Manual Control Auto Control 1 4.